+86-15996058266

E-ASIA Brevets & Avantages

Nombre Parcourir:0     auteur:Éditeur du site     publier Temps: 2022-08-17      origine:Propulsé

enquête

facebook sharing button
twitter sharing button
line sharing button
wechat sharing button
linkedin sharing button
pinterest sharing button
whatsapp sharing button
sharethis sharing button

Nous pouvons offrir des roulements d'accouplement de la lurgie des métaux, des camions miniers et des plates-formes de forage offshore et la réparation des roulements avec nos produits et services de haute qualité.


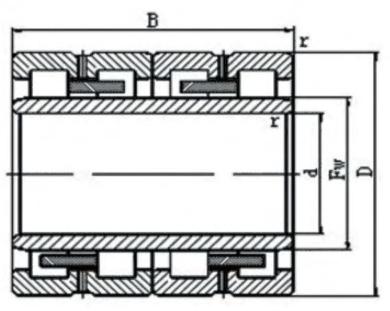
Roulement à rouleaux cylindriques à quatre rangées longue durée

Le roulement de laminoir cylindrique à quatre rangées est divisé en deux types de laminoir en acier et de laminoir en aluminium.Leur vitesse de rotation est respectivement de 400-600 tr/min (acier) et 1500-2000 tr/min (aluminium).


Les roulements à rouleaux cylindriques à quatre rangées peuvent supporter une charge radiale et une charge de choc beaucoup plus lourdes.Ils ont une plus grande précision et peuvent être appliqués dans l'équipement qui fonctionne avec une vitesse de rotation élevée.Le meulage de la surface du chemin de roulement et du rouleau en même temps après que la bague intérieure est pressée sur le col du rouleau, cela favorise l'amélioration de la précision de roulement et le libre ajustement du jeu de montage des roulements.Ces roulements sont principalement appliqués au rouleau de travail et au rouleau de secours des laminoirs et de certains autres cas.
FC : bagues extérieures doubles, bague intérieure simple et intérieur sans rebord.
FCD : bagues extérieures doubles, bagues intérieures doubles et bague intérieure sans bride.
FCDP : bagues extérieures doubles, n'ont qu'une bride centrale, mais avec nervure lâche, double bague intérieure, intérieure sans bride.


Roulement Non Dimensions(mm) Chargement de base(kN) Masse (kg)
dxDxB Dyn.(Cr) Stat.(Cor)
FC2640125 130x200x125 530 1200 14.6
FC3045120 150x225x120 645 1450 16.7
FC3246130 160x230x130 665 1705 16.9
FC3248124 160x240x124 685 1530 20.3
FC3248168 160x240x168 685 1530 26.4
FCD3446160 170x230x160 1100 2360 20
FC3452120 170x260x120 660 1790 24.6
FC3652124 180x260x124 735 1730 21.7
FC3652168 180x260x168 1070 2790 30.2
FC3652168/YA3 180x260x168 1070 2790 30.1
FC3854168 190x270x168 950 2430 30.2
FC3854168/YA3 190x270x168 950 2430 29.9
FC3854170/YA3 190x270x200 950 2430 30.2
FC4056188 200x290x192 985 2580 35.7
FC4462192/YA3 220x310x192 1300 1910 45.8
FC4462225 220x320x210 1450 4050 53.9
FC4666206/YA3 230x330x206 1350 3800 56.5
FC4866220/YA3 240x330x220 1620 4850 56.5
FC4866220 240x330x220 1620 4850 56.7
FC4872220 240x360x200 1700 4410 78
FC4872220A/C4YA3 240x360x200 1700 4410 78
FC5072220/YA3 250x360x220 1500 4250 76.9
FC5274200 260x370x200 1570 4250 73
FC5274220/YA3 260x370x220 1760 4900 79.2
FC5274220 260x370x220 1760 4900 80
FC5476230/YA3 270x380x230 1720 4800 80.2
FC5478230 270x390x236 2100 5950 97.8
FC5678220 280x390x220 1790 5150 86.5
FCDP5678275 280x390x275 2200 6250 102
FC6490240/YA3 320x450x240 2460 6720 119
FCD72102370 360x510x370 3850 11400 220
FCDP74104380 370x520x380 3900 12000 296
FCDP88124450 440x620x450 5200 15800 452
FCDP88124450/YA6 440x620x450 5200 15800 452
FCD96130450 480x650x450 4750 15400 419


60 ans d'histoire depuis la fondation, les roulements E-ASIA ont obtenu les marques SLYB, JSS.
Nous Contacter
  NO.88, E-ASIA building 1-6 floor, Jingjiang industries park, province du jiangsu, chine
  sales@zwz-skf.com
  +86-15996058266
  rachelsun168

Des Produits

Liens Rapides

Droits d'auteur © 2023 E-ASIE Bearing Co., Ltd.  Sitemap Supporté par Leadong